Home »
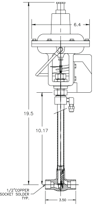
Cryogenic Valve Model C2041C-C32A
.5" Cryogenic Valve w/No Vacuum Jacket, Pneumatic Actuator & Positioner
Features
- No Vacuum Jacket
- I—P Positioner
- Pneumatic Actuator Air to Open (NC)
- Stainless Steel Stem & Threads
- Redundant Stem Seal
- Cryogenic Stem Packing
- Brass Bonnet
- Redundant Cryogenic Seal
- Bonnet Purge Port (Thermal Relief Location) with Relief Valve ( 100 PSI)
- All Stainless Steel Body & Stem
- Tight Fit Stem
- Brass Plug
- Plug to Stem Stabilizer
- KEL-F Seat Seal w/ Locked Thread Insert
- Equal % Flow Plug
Technical Data
- 300 PSI MAWP (Maximum Operating Pressure)
- Seat Seal Bubble Tight @ 150 PSIG
- Packing Mass Spec Tested @ 1 x 10 -5 Torr
- Leak Rate Below 1 x 10-9 CC GHe/SEC
- Cooldown Mass: 0.85 Pounds
Applications
- Vacuum Jacketed Piping
- Cold Boxes
- Manifold and Tank Systems
- Liquid Nitrogen Systems
- Hydrogen, Helium, Argon, and Oxygen Service (With Proper Cleaning)

