Home »
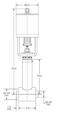
Cryogenic Valve Model C2161-A21
2.0" Vacuum Jacketed Globe Valve, Pneumatic Actuated Operation
- 2″ IPS Pipe Size Cryogenic Valve
- Actuated
- Vacuum Jacketed
- Globe Style Body
Features
- Pneumatic Actuator Air to Open
- Stainless Steel Body, Stem and Jacket
- Redundant Stem Seal
- Cryogenic Stem Packing
- Brass Bonnet
- Redundant Cryogenic Bonnet Seal
- Bonnet Purge Port (Thermal Relief Location)
- Tight Fit Stem
- MLI on Jacketed Valves
- Brass Plug
- Plug To Stem Stabilizer
- KEL-F Seat Seal w/ Locked Thread
Technical Data
- 300 PSI MAWP (Maximum Operating Pressure)
- Seat Seal Bubble Tight @ 150 PSIG
- Packing Mass Spec Tested @ 1 x 10-5 TORR
- Leak Rate Below 1 x 10-9 CC GHe/SEC
- Heat Leak: 27.1 BTU/HR to 20°k
- Cooldown Mass: 13.5 Pounds
- Options:
- Cold Box Jacket
- Manual Operation
- Relief Valve
- Flow Plugs
Applications
- Vacuum Jacketed Piping
- Cold Boxes
- Manifold and Tank Systems
- Liquid Nitrogen Systems
- Hydrogen, Helium, Argon, and Oxygen Service (With Proper Cleaning)

