Home » 
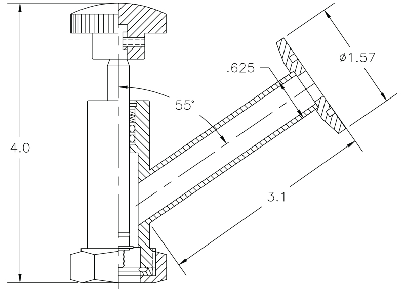
Vacuum Valve Operator Model V1045–3–25
1⁄2" Flange End Vacuum Valve Operator
FEATURES
- Simple, Inexpensive And Reliable Tight Seal At The Body Junction
- Spring Loaded, Redundant Seal on Shaft
- Connection Between V1000 Seal-off Valve and Pump
- Removes And Replaces The Seal Plug During The Pump Down Operation
- For Pipe End, See V1045-2
APPLICATIONS
- Vacuum-insulated piping systems
- Manifolds
- Flex lines
- Dewars
- Tanks
- Chambers
- Furnaces
- Any fabrication that requires a vacuum jacket
TECHNICAL DATA
- SERVICE: High Vacuum.
- PRESSURE: 1 X 10-8 TORR Vacuum up to 15 PSIG Positive.
- TEMPERATURE: +150° F TO -60° F.
- LEAK RATE: 1 X 10-8 STD CC GHe/ SEC. (Seal Permeability).
- CONNECTION: Weld junction is standard. Thread and flange junctions available on request.

