Home » 
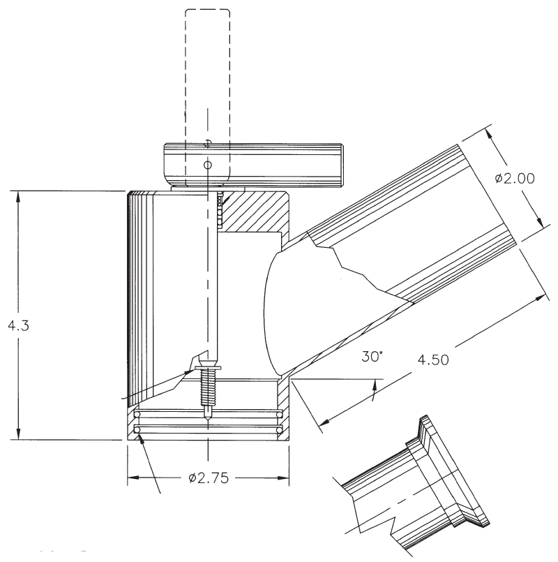
Vacuum Valve Operator Model V2165–20
Vacuum Valve Operator, 2" Size, Pipe End
FEATURES
- Easy Grip Aluminum Handle W/Open Position Lock Feature
- Mass Spec Leak Tested All Stainless Body Spring Loaded Dual O-Ring Shaft Seal Stem Pull-Out Stop
- KF/NW Flange Outlet Option
- Dual Seal Valve Connection
- TC Vacuum Tube Port Available
APPLICATIONS
- Piping and Flexlines
- Vacuum Insulated Piping Systems
- MRI Magnet Vacuum Containers Cryogenic Dewars
- Cold Boxes
TECHNICAL DATA
- Vacuum Leak Tested @ 1 X 10-5 TORR, Leak Rate Less Than 1 X 10-9 SCC GHe/SEC.
- Relief Pressure 2–6 PSIG.
- TC Vacuum Tube Port Available — P/N V2165-11.
- CONNECTION: Standard weld jacket. Threaded and KF/NW flange connections on request.

